Auszug aus dem Forum:
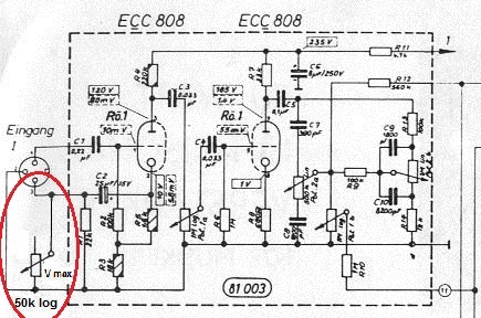
"90068Die Frage ist auch, wie Du die DIN-Buchse (3 pol) des Eingangs beschaltet hast. Pin 2 ist Masse und Pin 1 der eigentliche Eingang.Die Katode der ersten Stufe ist auf Pin 3 über 25 My raus geführt. Ist dieser Pin nicht benutzt, so ergibt dies eine..."» Weiterlesen: Röhrenpreamp umbauen, mehr gain, Dynacord Eminent 2
0 Kommentare
Anzeige
Diskussion zum Bild:
Was möchtest du tun?
Rechtlicher Hinweis
Die Verantwortung der hier angezeigten Bilder liegt beim einstellenden Nutzer.
Hifi-Forum macht sich die Inhalte nicht zu eigen und übernimmt keine Verantwortung.