Auszug aus dem Forum:
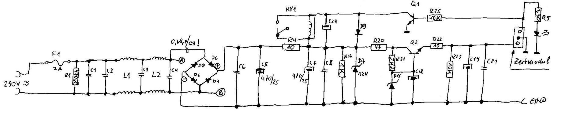
"Hallo,die Messwerte widersprechen sich Sicher, dass alles so eingestellt wurde, wie ich geschrieben habe?Denn:- die Seiten der Dioden D3, D5 mit den violetten Pfeilen sind die AC oder Eingangsseite der Gleichrichtervollbrücke. Wenn da keine Wechselspannung..."» Weiterlesen: Verdächtiges Relais
0 Kommentare
Anzeige
Diskussion zum Bild:
Was möchtest du tun?
Rechtlicher Hinweis
Die Verantwortung der hier angezeigten Bilder liegt beim einstellenden Nutzer.
Hifi-Forum macht sich die Inhalte nicht zu eigen und übernimmt keine Verantwortung.